w66最给力

行业动态

了解最新公司动态及行业资讯

污灌区农田土壤修复

2017-10-10 02:21:06 288 编辑:admin 来源:本站
  中国是一个水资源相对缺乏的国家水资源短缺和污染问题尤为突出。一方面工业发展离不开水,而农业更需要水工农业争水问题越来越成为社会发展的制约因素,特别是在我国北方的干旱和半干旱地区;另一方面工业、城市又排放大量的污水,既污染环境,又浪费大量水源。因此,对污水的再生利用是开源节流、减轻水体污染程度、改善生态环境、解决缺水问题的有效途径之一。这也是我国许多地方特别是北方地区,污水灌溉势在必行的原因。但是由于污水处理能力低及环保意识淡漠,且污水成分复杂 ,会带来一系列的水土环境、生态安全等问题。
  因此对污灌区农田土壤需要进行及时的修复,去除进入土壤中的污染物,保证农作物正常生长和农产品的质量。 现在有的土壤修复设置,主要是针对被严重污染的土壤进行修复,修复成本较高,不使用污灌区农田土壤的修复。土壤修复公司郑州w66最给力环境提供一种专门适用于污灌区农田土壤修复装置及其修复方法。
  1、污灌区农田土壤修复的技术方案为:
  污灌区农田土壤修复装置,包括机体,机体上有加液箱,机体下方从前到后依次安装有犁、破碎轮和修复液浸入轮;机体前方有挂钩,挂钩用于与动力车辆连接。
  所述的修复液浸入轮包括空心支架、空心轴和多个液体分布环;所述的液体分布环外圆上分布有空心的尖角,所述的尖角上有出水口,尖角与液体分布环连通,液体分布环通过多个支管与空心轴连通,空心轴通过安装在空心支架内的管路与加液箱连通,多个液体分布环同轴心的平行并列安装在同一个轴上。
  所述的破碎轮包括轴和多个螺旋刀片;轴两端通过连接杆安装在机体上,轴通过传动装置和动力源连接;螺旋刀片通过辐射支架安装在轴上。
  所述的犁包括多个犁片,多个犁片平行并列安装在横梁上,横梁顶部连接压力调节装置;犁片朝前方向上有刃口。
  根据土壤板结的情况决定数量和犁片之间的间距,犁片将板结土壤翻松;犁翻动土壤后,土壤为大块的翻起泥块,螺旋刀片打碎泥块同时,将碎泥块摊平。
  根据土壤被污染的情况,选择合适的修复液,加热到加液箱中,修复液输送到各个液体分布环中,液体分布环在破碎过的土壤中滚动,将表面的尖角逐个依次的插入到土壤中,修复液也随之浸入到土壤中。
  2、污灌区农田土壤修复方法,包括以下步骤:
  犁将土壤深翻,深翻的土壤再经过破碎轮破碎;
  然后再由修复液浸入轮将尖角插入到土壤中,修复液通过尖角的出水口浸入到土壤中。修复液的投放量根据污染情况和修复液浓度、性质决定。
  本发明提供的污灌区农田土壤修复装置及其修复方法,根据污水灌溉农田的土壤污染情况,选择深翻的深度和修复液,先将土壤翻松,再经过破碎泥块,提高去除污染物的效率。
  3、污灌区农田土壤修复附图说明
污灌区农田土壤修复
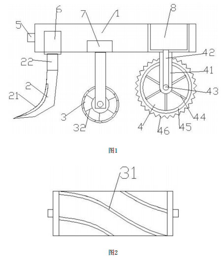
  图1是本发明的结构示意图;
  图2是本发明的破碎轮的结构示意图。
  4、具体实施方式
  结合附图说明本发明的具体实施方式。
  如图1所示,污灌区农田土壤修复装置,包括机体1,机体1上有加液箱8,机体1下方从前到后依次安装有犁、破碎轮3和修复液浸入轮4;机体1前方有挂钩5,挂钩5用于与动力车辆连接。
  可以通过机动车牵引该装置,为该装置提供移动的动力源。
  所述的犁包括多个犁片2,多个犁片2平行并列安装在横梁22上,横梁22顶部连接压力调节装置6;犁片2朝前方向上有刃口21。
  优选犁片2数量为3到5片,根据土壤板结的情况决定数量和犁片2之间的间距。为了提高犁片将板结土壤翻松的效率,在前面加上了刃口21。
  如图1和图2所示,所述的破碎轮3包括轴和多个螺旋刀片31;轴两端通过连接杆安装在机体1上,轴通过传动装置和动力源7连接;螺旋刀片31通过辐射支架32安装在轴上,螺旋刀片31相互平行形成破碎轮3的圆柱轮面。
  采用螺旋刀片31主要原因,是在前的犁翻动土壤后,土壤为大块的翻起泥块,并且会形成类似田垄的条块,螺旋结构的刀片可以在打碎泥块同时,将碎泥块摊平,并且可以分散同一个刀片受力。
  所述的修复液浸入轮4包括空心支架41、空心轴43和多个液体分布环45;所述的液体分布环45外圆上分布有空心的尖角46,所述的尖角46上有出水口,尖角46与液体分布环45连通,液体分布环45通过多个支管44与空心轴43连通,空心轴43通过安装在空心支架41内的管路42与加液箱8连通,多个液体分布环45平行并列安装。、
  根据土壤被污染的情况,选择合适的修复液,加热到加液箱8中,修复液从管路42进入到空心轴43内,然后分别进入到各个支管44,将修复液输送到各个液体分布环45中,液体分布环45在随着整个污灌区农田土壤修复装置前进的过程中,自身围绕空心轴43转动并在破碎过的土壤中滚动,将表面的尖角46逐个依次的插入到土壤中,修复液也随之浸入到土壤中。尖角46上的出水口可以为多个立体分布,比如在尖角顶部和侧壁上都分布有出水口。
  5、污灌区农田土壤修复方法,包括以下步骤:
  犁将土壤深翻,深翻的土壤再经过破碎轮3破碎;根据土壤污染情况,选择深翻的深度,然后经过破碎泥块,泥土经过破碎后,可以提高去除污染物的效率。
  然后再由修复液浸入轮4将尖角46插入到土壤中,修复液通过尖角46的出水口浸入到土壤中。修复液的投放量根据污染情况和修复液浓度、性质决定。

30

装备制造经验

立即免费获取土壤修复方案

为用户提供及时、高效、便捷的服务

在线咨询
w66最给力环境希望与你携手,共创美好未来...
5