w66最给力

行业动态

了解最新公司动态及行业资讯

铬污染土壤异位淋洗修复方法

2017-10-10 02:12:40 299 编辑:admin 来源:本站
  针对上述存在的问题,本发明的目的是在于提供一种能作为工程应用规模的经济、可行的异位土壤淋洗修复设备和操作方法,其可针对铬渣污染土壤实现土壤淋洗与脱水的一体化、自动化处理,解决洗脱液处理问题,并且实现连续操作。
  一、铬渣污染土壤异位淋洗修复方法,具体包括以下步骤 :
  1) 污染土壤首先通过提升机进入进料斗,通过输送搅轴从土壤进料口进入反应筒淋洗段,与存留在土壤进料口端的淋洗液进行充分的混合接触,初步实现将土壤中的含铬成分转移至淋洗剂所在的液相 ;
  2) 随螺旋搅拌推进器转动,与淋洗剂充分混合后的污染土壤向高端的出料口移动,在这一过程中与从淋洗段末端的淋洗剂形成逆向流动,实现对土壤的二次淋洗,进一步降低土壤中的含铬成分。
  3) 当泥水混合物被输送到反应筒脱水段,由于螺旋轴直径增大及叶片螺距减小使脱水段容积减小,泥水混合物被挤压,滤液通过具有透水过滤功能的筒壁排出,而截留下的土壤随螺旋搅拌推进器的转动被输送到排泥装置,最终通过该装置将淋洗、脱水后的土壤排出。
  4) 从滤液回收斗和淋洗剂溢出口流入到含铬废水处理装置中的淋洗液含有高浓度的六价铬,在还原剂的作用下,淋洗液中的六价铬在还原反应槽中被还原为三价铬,然后在中和反应槽中加碱使三价铬完全形成氢氧化铬沉淀,利用斜板沉淀槽对沉淀进行分离,并向上清液补加有效成分对淋洗液进行回用,含铬污泥采用板框压滤机进行脱水处理。
  用于还原处理的药剂优选为硫化钠水溶液。所述用于沉淀处理的药剂优选为石灰乳。本领域技术人员能够获知的其他可用于六价铬还原药剂或用于三价铬沉淀的药剂均可用于本发明。
  二、附图说明
铬渣污染土壤异位淋洗修复流程示意图铬渣污染土壤异位淋洗修复设备结构示意图铬渣污染土壤异位淋洗修复设备结构示意图
  图 1 :本发明中铬渣污染土壤异位淋洗修复流程示意图 ;
  图 2 :本发明中铬渣污染土壤异位淋洗修复设备结构示意图 ;
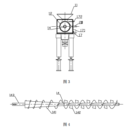
  图 3 :图 2 中设备反应筒的淋洗段横断面示意图 ;
  图 4 :本发明中螺旋搅拌推进器结构示意图。
  图中 :1- 提升机 ;2- 进料斗 ;3- 输送管 ;31- 输送搅轴 ;4- 电机 ;5- 淋洗剂储槽 ;6- 水泵 ;7- 阀门 ;8- 液体流量计 ;9- 雾化喷头 ;10- 淋洗剂入口 ;11- 土壤进料口 ;12- 反应筒 ;13- 加热仓 ;14- 螺旋搅拌推进器 ;141- 叶片 ;142- 搅拌桨 ;143- 主轴 ;15- 调速电机 ;16- 支架 ;17- 电阻丝 ;171- 电器护罩 ;172- 热电偶 ;18- 法兰 ;19- 排泥装置 ;191- 挡泥板 ;20- 淋洗液溢出口 ;21- 集气罩 ;22- 酸气吸收剂 ;23- 滤液回收斗 ;24- 丝杆 ;25- 滤液调节槽 ;26- 还原反应槽 - ;27- 中和反应槽 ;28- 斜板沉淀槽 ;29- 板框压滤机。
  三、铬渣污染土壤异位淋洗修复设备及修复方法,具有如下技术特点和优点 :
  1、本发明将土壤淋洗与泥水分离两个步骤合并为一个操作单元,只用一个动力源,实现了土壤异位淋洗的连续操作。
  2、设备集成化程度高,便于搬运,能实现对突发性土壤污染事件的紧急处理。
  3、本发明的装置结构合理,操作简单,处理过程自动化程度高,减少了人工投入,提高了工作效率。
  4、本发明中淋洗时间、淋洗温度、淋洗液用量、淋洗液种类等参数均可调整,有利于对淋洗工艺的调整,可适用于其他重金属污染的土壤淋洗处理,为科研人员研究土壤淋洗提供了高效便捷的实验手段。
  5、本发明处理成本低,处理效率高,经其处理的被污染土壤净化程度可达 85%以上,同时解决了淋洗液的再生及循环利用难题。

30

装备制造经验

立即免费获取土壤修复方案

为用户提供及时、高效、便捷的服务

在线咨询
w66最给力环境希望与你携手,共创美好未来...
5