w66最给力

行业动态

了解最新公司动态及行业资讯

种盆栽种植用土壤筛分装置你知道吗

2018-02-06 01:06:22 280 编辑:admin 来源:本站
筛分是将粒子群按粒子的大小、比重、带电性以及磁性等粉体学性质进行分离的 方法。用带孔的筛面把粒度大小不同的混合物料分成各种粒度级别的作业也是筛分的一 种。 现在很多土壤中有很多不易压碎的粗块土壤或石头,在我们种植盆栽的时候非常 的不利于花草的成长,如果土壤成块状,或石头过多,植物很难吸收到养分,而且还容易压 到植物,导致植物死亡,因此亟需研发一种能有效进行土壤粗细的筛分,将土壤中的粗块土 壤或石头筛分出来,有利于植物生长的盆栽种植用土壤筛分装置。 
为了克服现在很多土壤中有很多不易压碎的粗块土壤或石头,在我们种植 盆栽的时候非常的不利于花草的成长,如果土壤成块状,或石头过多,植物很难吸收到养 分,而且还容易压到植物,导致植物死亡的缺点,要解决的技术问题是提供一种盆栽 种植用土壤筛分装置。 
 
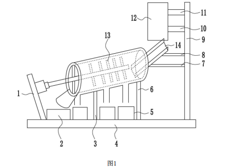
盆栽种植用土壤筛分装置,包括有第一支杆、粗土收集槽、第一支架、底板、细土收集槽、第二支架、第二支杆、第三支杆、第三支架、第四支杆等;底板顶部左侧设有第一支杆,底板顶部设有第一支架和第二支架,且第一支架位于第二支架左侧,第一支架和第二支架顶部设有筛选装置,且筛选装置左侧与第一支杆右侧连接。本实用新型达到了能有效进行土壤粗细的筛分,将泥土中不利于植物生长的粗块土壤或石头筛分出来,便于植物生长的效果,实用性好,可推广性强。
 

30

装备制造经验

立即免费获取土壤修复方案

为用户提供及时、高效、便捷的服务

在线咨询
w66最给力环境希望与你携手,共创美好未来...
5