w66最给力

行业动态

了解最新公司动态及行业资讯

外热式土壤热脱附回转窑怎么修复石油烃类污染

2018-08-27 00:49:46 311 编辑:admin 来源:本站
    我国存在大量POPs、PCBs、石油烃类污染场地。针对此类污染土壤,采用土壤热脱附技 术修复时,产生大量有毒、易燃易爆的尾气。传统热脱附窑炉密封性差,尾气容易逸散至环 境中,造成二次污染,威胁人员安全。此外,传统热脱附窑炉为内热式,尾气与明火接触, 不 宜用于处理高浓度有机物污染土壤,否则会带来爆炸风险。 一种外热式土壤热脱附回转窑,解决现有技术中存在的上述 技术问题。
土壤热脱附

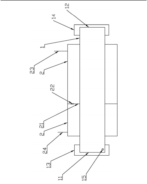
    外热式土壤热脱附回转窑,包括相互气密隔绝的炉管与炉膛,炉管一端为进料端,另一端为出料端,所述炉膛包覆在所述炉管的两端之间的外部,向所述炉管提供热量。所述炉膛具有串联连接的至少两段,相邻的两段之间以挡板形成气密隔绝,在挡板上设有阀门。各炉膛内设有至少一对燃烧器,每一对燃烧器呈相对地设置在炉膛靠近底部位置的相对两侧,并且每一对燃烧器在炉膛的轴向上相互错开。在所述炉管的进料端、出料端分别增设窑头罩,窑尾罩,所述窑头罩、窑尾罩与炉管之间分别交错设置有挡气板,在挡气板之间持续通入氮气以保持正压环境。

30

装备制造经验

立即免费获取土壤修复方案

为用户提供及时、高效、便捷的服务

在线咨询
w66最给力环境希望与你携手,共创美好未来...
5