w66最给力

行业动态

了解最新公司动态及行业资讯

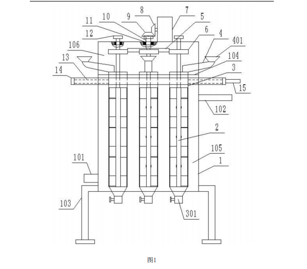
有机污染土壤热脱附用加热装置

2018-10-09 01:23:18 351 编辑:admin 来源:本站
      近年来,大量的化工或石化企业在生产运营中,由于环保管理不健全等原因,导致 大量的有毒有害物质,特别是有机污染物进入到厂区及其周围土壤中,存在严重的场地土 壤污染问题。目前,热脱附修复技术是处理有机污染土壤较为有效的方法,土壤热脱附修复技术 以直接或间接的加热方式将受污染土壤加热至污染物沸点以上,使吸附于土壤中的污染物 饱和蒸汽压增大,挥发成气态进入气相后逸出,再对气态污染物依据其性质、浓度等选择冷 凝、吸附或燃烧等方式进行处理。土壤热脱附设备的处理设备主要包括两个:加热装置和气状污 染物处理装置,其中,加热装置用来对待处理的污染物进行加热,使其中的有机污染物挥发 成气态后逸出;气状污染物处理装置,用于接收挥发后的气体,并将含有污染物的气体处理 后达到法定环保标准,然后将气体排放至大气中。 
土壤热脱附

    现有技术中,加热装置通常采用加热炉,对有机污染土壤进行加热,加热炉通常是 旋转窑类型的,如呈大滚筒状的热脱附滚筒,在使用热脱附滚筒对有机污染土壤进行加热 时,仅通过热脱附滚筒的旋转,来实现对有机污染土壤的翻转,加热烟气直接导入到热脱附 滚筒内对土壤进行加热。 
    土壤热脱附滚筒在旋转的时候,由于仅能对对筒内的有机污染土壤进行简单的翻转, 而在翻转过程中由于有机污染土壤为固体状容易翻转不均匀,使得筒内的有机污染土壤会 出现挂壁或粘结成团的现象,因此,通入加热烟气后无法与有机污染土壤充分接触,造成有 机污染土壤受热不均匀,会导致加热效果下降,从而导致土壤热脱附效率降低。

30

装备制造经验

立即免费获取土壤修复方案

为用户提供及时、高效、便捷的服务

在线咨询
w66最给力环境希望与你携手,共创美好未来...
5