w66最给力

公司动态

了解最新公司动态及行业资讯

土壤湿法振动筛分设备的结构原理

2017-10-10 02:13:04 334 编辑:admin 来源:本站
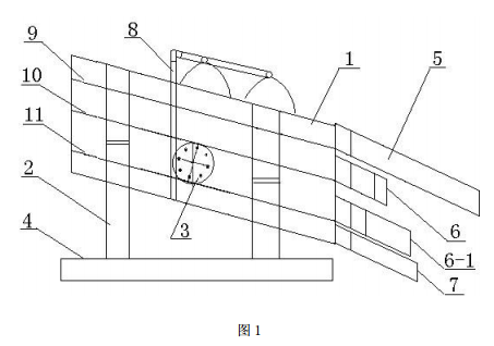
   土壤湿法振动筛分设备的结构示意图
       图 1 为土壤湿法振动筛分设备的结构示意图。
    图中 :1、筛箱 ;2、支承装置 ;3、偏心式激振器 ;4、底座 ;5、第一出料口 ;6、第二出料口 ;6-1、第三出料口 ;7、第四出料口 ;8、喷淋水管路 ;9、第一层筛分网 ;10、第二层筛分网 ;11、第三层筛分网。
    具体实施方式
    一种土壤湿法振动筛分设备,它包括底座 4、筛箱 1、出料口、支承装置 2 和偏心式激振器 3,支承装置 2 设置在底座 4 上,支承装置 2 的上部固定筛箱 1,筛箱 1 底部设置有偏心式激振器 3,偏心式激振器 3 通过电动机带动进行振动筛分,出料口设置在筛箱 1 一侧。
    采用 SZZ-1250 三层振动筛网对土壤进行湿法分离,振动筛筛网布置方式为 :第一层筛分网 9 孔径为 10 mm,第二层筛分网 10 孔径为 5 mm,第三层筛分网 11 孔径为 2 mm。在振动筛作业方向上布置 2 道喷淋水管路 8,如图 1,喷淋水管路 8 的喷淋管距作业面 300 mm高,水管的下表面每间隔100 mm且呈60°方向上开直径4 mm的小孔,各个小孔交错分开布置,以方便喷淋水均匀且覆盖喷洒到振动筛作业面上。
    振动筛的第一出料口 5 与振动筛牢固焊接在一起,且伸长并向外倾斜,以方便石块能随振动筛的振动出料。振动筛的第二出料口 6、第三出料口 6-1 为砂砾出料口,分别与第二层筛分网 10、第三层筛分网 11 焊接固定在一起,且砂砾出料口的下方均安装有孔径为2 mm 的钢丝网板,方便水沥出并下落到第四层的第四出料口 7,即泥浆水出料口。第二出料口 6 比第三出料口 6-1 短,以方便砂砾能汇总到第三出料口 6-1 并排出 ;振动筛的第四层泥浆水出料口与整个振动筛分离并单独支撑,且比第三出料口 6-1 长,泥浆水出料口的边沿相应加高,以防止泥浆水冲击下落时溅出出料口 ;整个振动筛壳体整体焊接,以防止有跑、冒、滴、漏现象的发生。
    使用本设备对土壤进行湿法分离,石块、砂砾、泥浆水分离效果明显,且石块、砂砾基本不带水,不规则的石块也能随着振动筛的振动顺利下料,泥浆水在振动筛作业时有冲击水流的情况下也能顺利通过相应的管路进入到泥浆水收集设备。

30

装备制造经验

立即免费获取土壤修复方案

为用户提供及时、高效、便捷的服务

在线咨询
w66最给力环境希望与你携手,共创美好未来...
5