w66最给力

公司动态

了解最新公司动态及行业资讯

土壤修复热脱附炉设备

2017-10-20 02:12:37 436 编辑:admin 来源:本站
  随着经济升级、产业转移和转型,大批的钢铁、化工等工业用地、固体废物堆放场、军事基地等从城市中心地带向其他地区或者郊区搬迁,留下了大批受污染的场地。土壤中的污染物主要为总石油烃、多环芳烃等有机物,有些土壤还有汞、砷等重金属的污染物,受污染的土壤难以恢复,对农产品和人体健康造成危害。相关土壤修复技术中,热脱附技术具有一定的优势,但是大部分热脱附技术采用直接加热的方法,不仅在加热的过程中容易形成二噁英等二次污染物,而且烟气量大,灰分多。
  本发明旨在至少在一定程度上解决相关技术中的技术问题之一。为此,本发明提出一种土壤修复热脱附炉,所述土壤修复热脱附炉具有修复污染小、粉尘少的优点。
  一、土壤修复热脱附炉结构原理
  土壤修复热脱附炉包括:炉体,所述炉体上设有进料口和出料口,所述炉体内具有热脱附区和干燥区,所述干燥区位于所述进料口和所述热脱附区之间,所述炉体的横截面形成为环形;布料板,所述布料板可水平转动地设在所述炉体内;第一辐射管燃烧器,所述第一辐射管燃烧器设在所述炉体的侧壁上以对所述热脱附区内的土壤提供热脱附热量,所述炉体对应所述热脱附区的位置设有挥发性气体出口;第二辐射管燃烧器,所述第二辐射管燃烧器设在所述炉体的侧壁上以对所述干燥区内的土壤提供干燥热量,所述炉体对应所述干燥区的位置设有水蒸气出口;驱动器,所述驱动器设在所述炉体内且与所述布料板相连以驱动所述布料板转动。
  根据本发明实施例的土壤修复热脱附炉,通过在炉体内设置可水平转动的布料板,并在炉体的侧壁上设置第一辐射管燃烧器和第二辐射管燃烧器,可以实现土壤与布料板的相对静止,减少了对土壤的扰动,从而减少了炉体内的灰尘,以及实现了土壤的间接加热,避免了直接加热烟气量大的问题,降低了尾气处理的负担,同时还可以避免产生二噁英等二次污染物,不仅实现了对土壤的有效修复,而且还达到了保护环境的目的。
  根据本发明的一些实施例,所述第一辐射管燃烧器的燃气入口与所述挥发性气体出口连通。
  根据本发明的一些实施例,所述第二辐射管燃烧器的燃气入口与所述挥发性气体出口连通。
  根据本发明的一些实施例,所述土壤修复热脱附炉还包括用于排出所述炉体内的经过热脱附后的土壤的出料装置。
  可选地,所述土壤修复热脱附炉还包括对从所述出料口排出的土壤进行冷却的冷却系统。
  进一步地,所述出料装置包括位于所述炉体内的一级出料机和位于所述炉体外的二级螺旋出料装置,所述二级螺旋出料装置包括壳体和螺旋轴,所述壳体具有土壤进口和土壤出口,所述螺旋轴可转动地设在所述壳体内,所述土壤出口与所述一级出料机的排放口连通,所述冷却系统包括设在所述螺旋轴内的第一冷却水路。
  更进一步地,所述冷却系统还包括设在所述壳体的周壁内的第二冷却水路。所述第一辐射管燃烧器为蓄热式辐射管燃烧器。所述第二辐射管燃烧器为蓄热式辐射管燃烧器。所述炉体的内周壁上设有保温层。
  二、附图说明
土壤修复热脱附炉的剖面图土壤修复热脱附炉的结构示意图土壤修复热脱附炉的工艺流程图
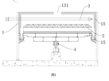
  图1是根据本发明实施例的土壤修复热脱附炉的剖面图;
  图2是图1中所示的土壤修复热脱附炉的结构示意图;
  图3是根据本发明实施例的土壤修复热脱附炉的工艺流程图。
  附图标记:
  土壤修复热脱附炉100, 炉体1,进料口11,出料口12, 热脱附区13,挥发性气体出口131, 干燥区14,水蒸气出口141,保温层15,布料板2,第一辐射管燃烧器3,驱动器4。

30

装备制造经验

立即免费获取土壤修复方案

为用户提供及时、高效、便捷的服务

在线咨询
w66最给力环境希望与你携手,共创美好未来...
5